Bosch list kružne testere Eco for wood 190 x 30-24 (2608644376)
Opis
| Proizvodna linija | Pribor Ecoline |
Detalji
| Spoljni prečnik mm | 190 |
| Otvor mm | 30 |
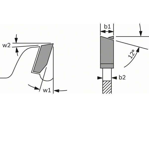
| Širina sečenja (b1) mm / debljina osnovnog lista (b2) mm | 2,2/1,4 |
| Broj zubaca | 24 |
| Oblik zubaca | ATB |
| Maks. broj obrtaja (o/min) | 8000 |
| Rezultat sečenja | 2 |
| Rezni ugao ° w1 | 16 |
| Leđni ugao ° w2 | 15 |
Za
| Obradivi materijali | Drvo |


