Bosch list kružne testere Eco for wood 230 x 30-48 (2608644382)
Opis
| Proizvodna linija | Pribor Ecoline |
Detalji
| Spoljni prečnik mm | 230 |
| Otvor mm | 30 |
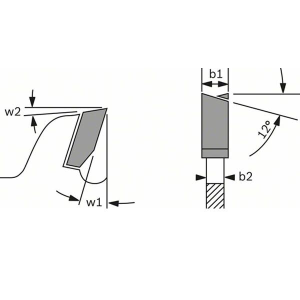
| Širina sečenja (b1) mm / debljina osnovnog lista (b2) mm | 2,8/1,8 |
| Broj zubaca | 48 |
| Oblik zubaca | ATB |
| Maks. broj obrtaja (o/min) | 6500 |
| Rezultat sečenja | 4 |
| Rezni ugao ° w1 | 16 |
| Leđni ugao ° w2 | 15 |
Za
| Obradivi materijali | Drvo |


